富创精密获得实用新型专利授权:“一种超洁净钢管自动夹持机构”
2025年06月20日 | 浏览量:72624

图片来源于网络,如有侵权,请联系删除
证券之星消息,根据天眼查APP数据显示富创精密(688409)新获得一项实用新型专利授权,专利名为“一种超洁净钢管自动夹持机构”,专利申请号为CN202422538903.7,授权日为2025年6月20日。
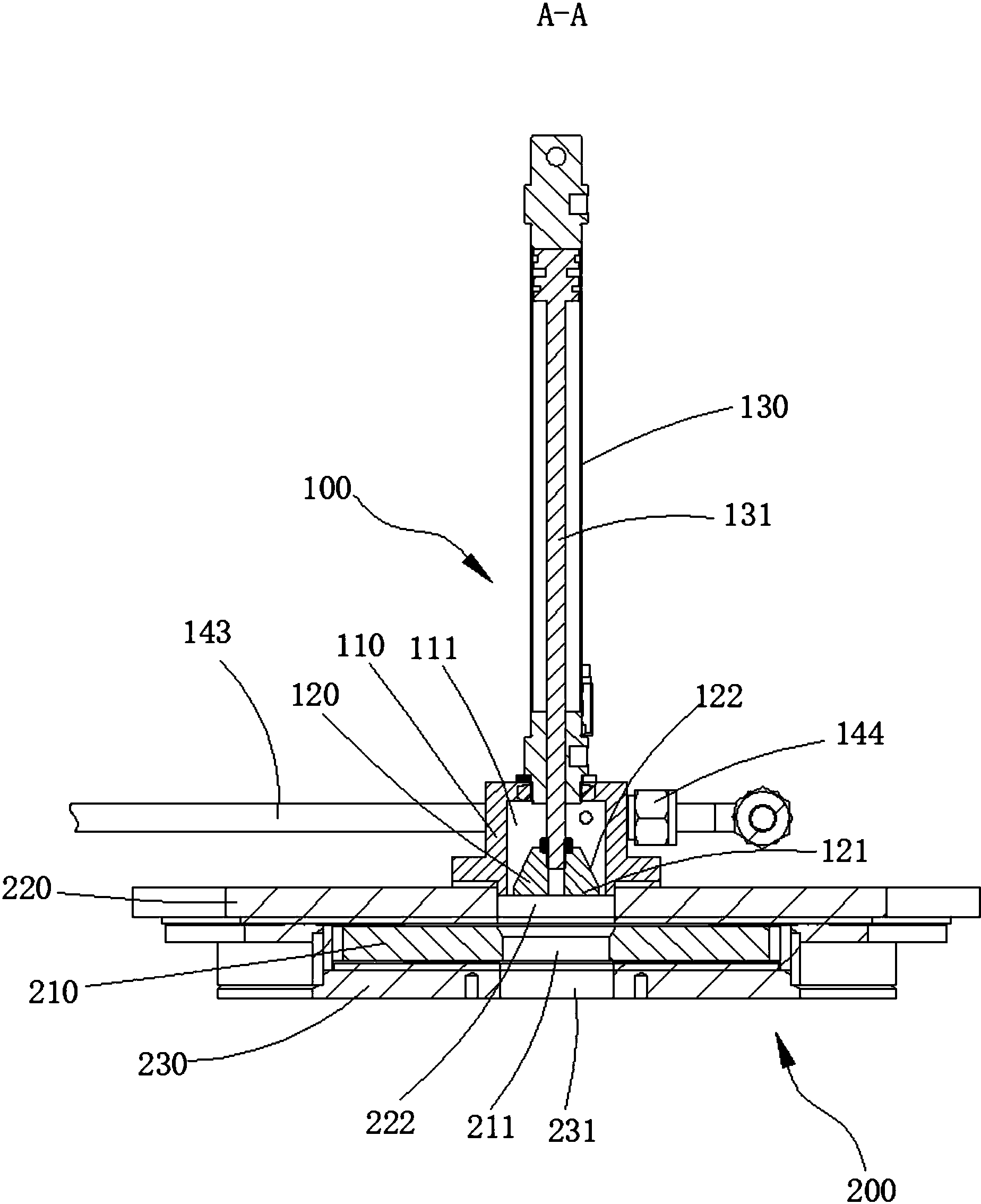
专利摘要:本实用新型涉及半导体行业超洁净管路技术领域,具体是一种超洁净钢管自动夹持机构,包括短管旋转夹持机构、管件长度检测机构和长管辅助夹持机构,管件长度检测机构用于检测来料管件的长度,短管旋转夹持机构用于夹持小于设定长度的管件,长管辅助夹持机构用于与短管旋转夹持机构共同夹持大于设定长度的管件。该超洁净钢管自动夹持机构实现了多长度尺寸管路件的自动夹取,为自动切割提供了更便利的操作环境;智能区分来料长度,选取不同的夹取方式,防止管路件掉落;减轻人工的劳动强度,并提高了生产效率与工业自动化水平。
今年以来富创精密新获得专利授权22个,较去年同期减少了26.67%。结合公司2024年年报财务数据,2024年公司在研发方面投入了2.21亿元,同比增7.47%。
通过天眼查大数据分析,沈阳富创精密设备股份有限公司共对外投资了22家企业,参与招投标项目62次;财产线索方面有商标信息28条,专利信息666条,著作权信息3条;此外企业还拥有行政许可46个。
数据来源:天眼查APP
以上内容为证券之星据公开信息整理,由AI算法生成(网信算备310104345710301240019号),不构成投资建议。
本文来源:资讯纵横网
本文地址:https://mgisk.com/post/29376.html
关注我们:微信搜索“xiaoqihvlove”添加我为好友
版权声明:如无特别注明,转载请注明本文地址!

