亚厦股份获得实用新型专利授权:“一种异形吊顶安装装置”
2025年07月12日 | 浏览量:71355

图片来源于网络,如有侵权,请联系删除
证券之星消息,根据天眼查APP数据显示亚厦股份(002375)新获得一项实用新型专利授权,专利名为“一种异形吊顶安装装置”,专利申请号为CN202422347587.5,授权日为2025年7月11日。
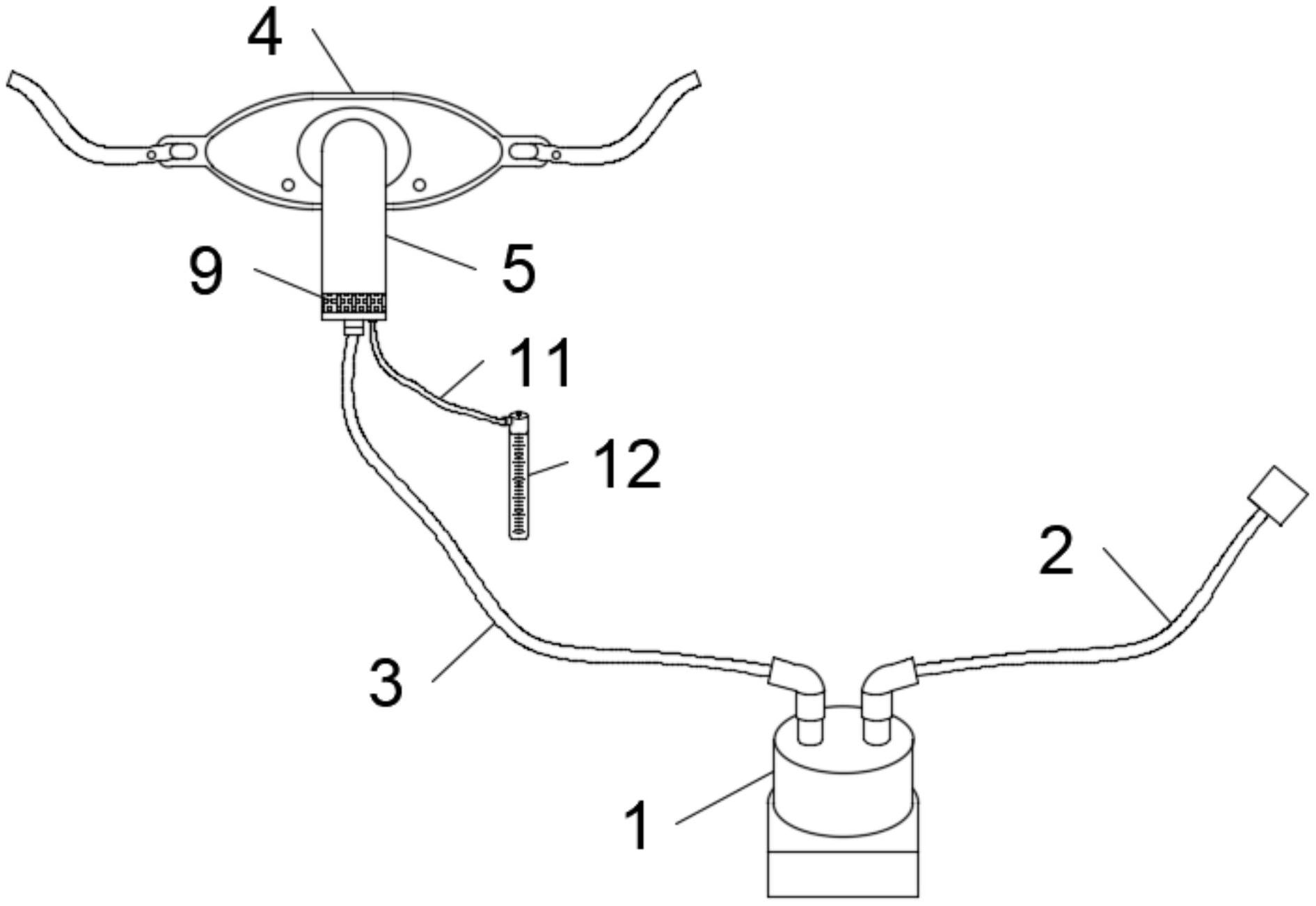
专利摘要:本实用新型提供一种异形吊顶安装装置,属于吊顶安装技术领域。该异形吊顶安装装置包括第一龙骨、第二龙骨、吊挂件、至少一个异形吊顶板。本实用新型中弧形基板为弧形构造,能够提升装饰效果,弧形基板的结构能够满足不同用户的需求,弧形基板与第一龙骨固定连接,第二龙骨卡接于第一卡接槽,使得第二龙骨连接于第一龙骨,吊挂件将第二龙骨固定连接于墙顶,第二龙骨和第一龙骨采用卡接形式连接,结构简单,安装快捷,提升安装工效,确保安装稳定。

图片来源于网络,如有侵权,请联系删除
今年以来亚厦股份新获得专利授权241个,较去年同期减少了68.58%。结合公司2024年年报财务数据,2024年公司在研发方面投入了3.72亿元,同比减4.37%。
通过天眼查大数据分析,浙江亚厦装饰股份有限公司共对外投资了35家企业,参与招投标项目4461次;财产线索方面有商标信息142条,专利信息7603条,著作权信息44条;此外企业还拥有行政许可53个。
数据来源:天眼查APP
以上内容为证券之星据公开信息整理,由AI算法生成(网信算备310104345710301240019号),不构成投资建议。
本文来源:资讯纵横网
本文地址:https://mgisk.com/post/31079.html
关注我们:微信搜索“xiaoqihvlove”添加我为好友
版权声明:如无特别注明,转载请注明本文地址!

