博众精工获得实用新型专利授权:“一种焊接设备”
2025年07月15日 | 浏览量:73776

图片来源于网络,如有侵权,请联系删除
证券之星消息,根据天眼查APP数据显示博众精工(688097)新获得一项实用新型专利授权,专利名为“一种焊接设备”,专利申请号为CN202421909123.2,授权日为2025年7月15日。
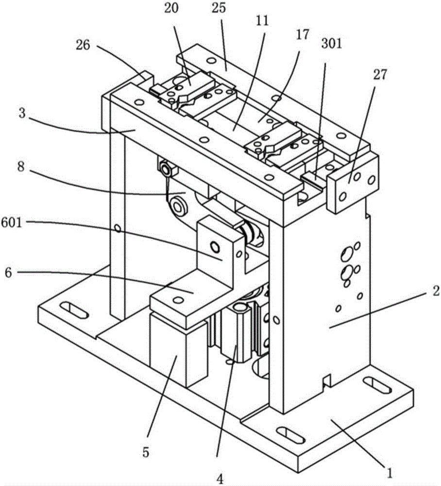
专利摘要:本实用新型涉及一种焊接设备,包括:底座,底座上设有上料工位和焊接工位;调整平台组件,待焊接物料设置在调整平台组件上,调整平台组件设置在上料工位处用于调整待焊接物料的位置;传输组件,传输组件移动地设置在底座上,用于将调整平台组件从上料工位运送至焊接工位;焊接组件,焊接组件设置在焊接工位处,对经调整后的待焊接物料进行焊接。本实用新型焊接设备,可辅助人工进行精密组装焊接,解决现有技术中存在的精密组装焊接困难,耗时费力的问题,提高产品良率和工作效率。

图片来源于网络,如有侵权,请联系删除
今年以来博众精工新获得专利授权86个,较去年同期减少了58.45%。结合公司2024年年报财务数据,2024年公司在研发方面投入了5.14亿元,同比增3.4%。
通过天眼查大数据分析,博众精工科技股份有限公司共对外投资了27家企业,参与招投标项目108次;财产线索方面有商标信息330条,专利信息4421条,著作权信息397条;此外企业还拥有行政许可36个。
数据来源:天眼查APP
以上内容为证券之星据公开信息整理,由AI算法生成(网信算备310104345710301240019号),不构成投资建议。
本文来源:资讯纵横网
本文地址:https://mgisk.com/post/31277.html
关注我们:微信搜索“xiaoqihvlove”添加我为好友
版权声明:如无特别注明,转载请注明本文地址!
- •中国石化获得发明专利授权:“催化反应单元及反应蒸馏塔”
- •万事利获得外观设计专利授权:“丝巾(百福结-丝羊毛)”
- •【ESG动态】赫美集团(002356.SZ)获华证指数ESG最新评级CC,行业排名第96
- •华鑫股份(600621)2025年三季报简析:营收净利润同比双双增长
- •海南发展:截至9月20日股东总户数74,632户
- •中旗新材获得发明专利授权:“一种石英石板材的布料装置”
- •秋田微(300939)2025年年报简析:增收不增利,公司应收账款体量较大
- •三达膜:公司的膜产品有应用在稀土开采领域
- •太辰光:800G光模块已经有供货
- •兴福电子获得发明专利授权:“一系列杂环芳烃光引发剂及其光引发剂应用”

