汇成股份获得实用新型专利授权:“一种气阀控制装置”
2025年07月18日 | 浏览量:49701

图片来源于网络,如有侵权,请联系删除
证券之星消息,根据天眼查APP数据显示汇成股份(688403)新获得一项实用新型专利授权,专利名为“一种气阀控制装置”,专利申请号为CN202422540848.5,授权日为2025年7月18日。
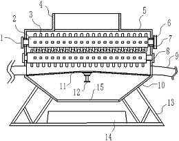
专利摘要:本申请实施例公开了一种气阀控制装置,涉及张力调节设备领域,包括电机、轴套和齿轮,电机的输出端套设有气阀模组,所述气阀模组上垂直于所述电机的输出轴的方向上开设有通气孔,所述通气孔上设置有顶针,所述顶针活动连接于所述通气孔,所述通气孔连接气泵;轴套套设在所述气阀模组上,且所述轴套上对应所述通气孔的位置形成有第一抵接面,当所述通气孔内填充有气体时,气体推动所述顶针对所述第一抵接面进行推动;齿轮与所述轴套进行同轴固定连接,所述齿轮连接有待测支架,通过设置有顶针和通气孔可以对轴套和齿轮进行小角度转动,以实现对COF载带芯片的张力的精准调节。
今年以来汇成股份新获得专利授权7个,较去年同期减少了22.22%。结合公司2024年年报财务数据,2024年公司在研发方面投入了8940.69万元,同比增13.38%。
通过天眼查大数据分析,合肥新汇成微电子股份有限公司共对外投资了4家企业,参与招投标项目20次;财产线索方面有商标信息5条,专利信息172条,著作权信息3条;此外企业还拥有行政许可38个。
数据来源:天眼查APP
以上内容为证券之星据公开信息整理,由AI算法生成(网信算备310104345710301240019号),不构成投资建议。
本文来源:资讯纵横网
本文地址:https://mgisk.com/post/31522.html
关注我们:微信搜索“xiaoqihvlove”添加我为好友
版权声明:如无特别注明,转载请注明本文地址!

