资讯纵横网-资讯纵横网专业提供财经方面资讯 - 岱微汽车

当前位置:资讯纵横网 - 专利经济 - 巨一科技获得发明专利授权:“一种三合一电机定子转子的柔性合装机构”

巨一科技获得发明专利授权:“一种三合一电机定子转子的柔性合装机构”
图片来源于网络,如有侵权,请联系删除

证券之星消息,根据天眼查APP数据显示巨一科技(688162)新获得一项发明专利授权,专利名为“一种三合一电机定子转子的柔性合装机构”,专利申请号为CN202111425385.2,授权日为2025年7月22日。

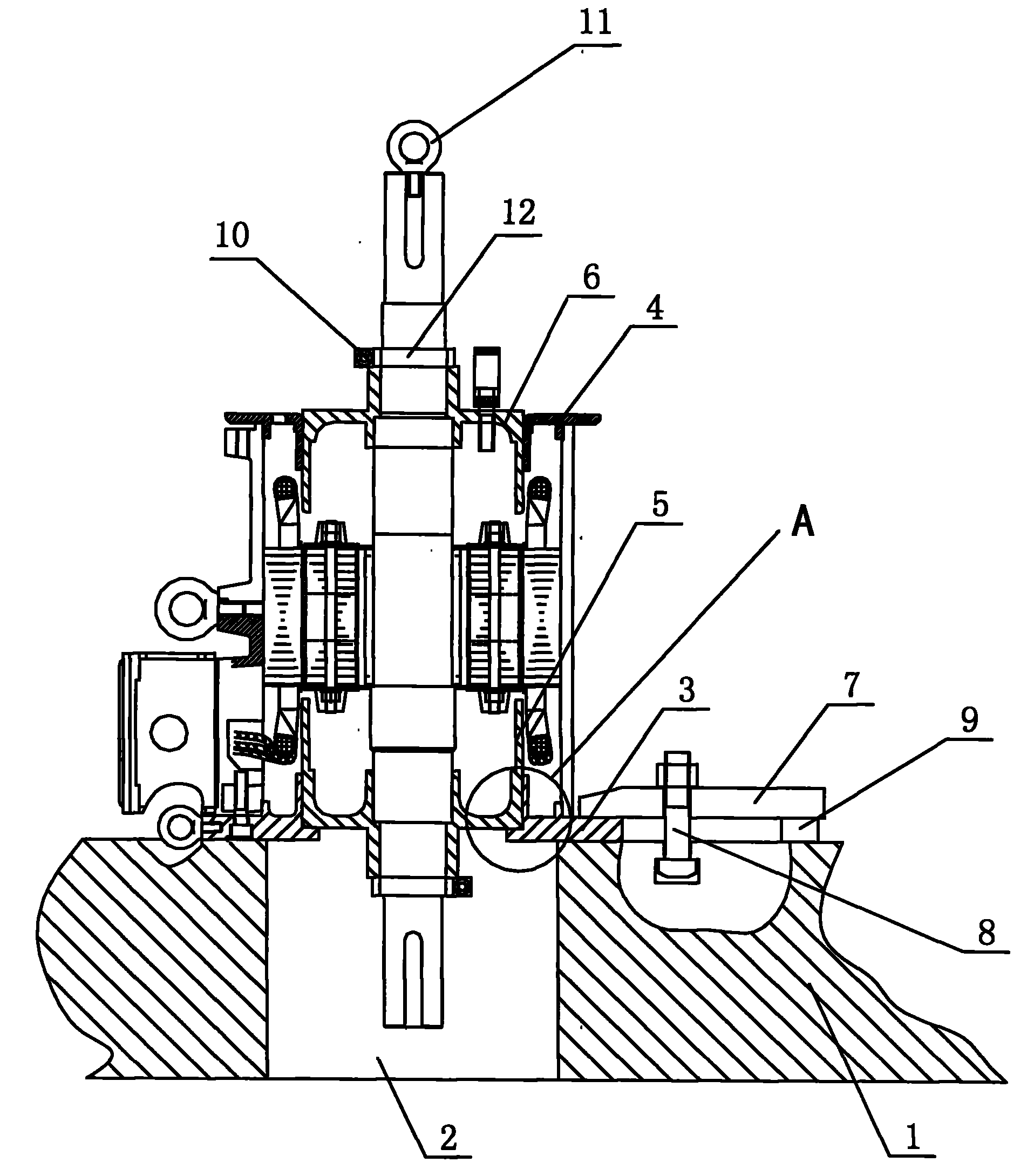
专利摘要:本发明公开了一种三合一电机定子转子的柔性合装机构,包括支架、支架安装板、转台安装板、导向杆机构、定位座、以及若干夹紧机构;夹紧机构在转台安装板上环形阵列分布,用于夹紧定子内圈下缘,定位座设置在转台安装板上端中部,用于轴向支撑定子内圈,导向杆机构具有与转子内圈接触的导向杆,导向杆贯穿定位座并通过气缸二驱动;其中,转台安装板与支架安装板之间通过转台轴承转动连接,以保证转子与定子周向精确定位。采用夹紧机构将电机定子进行固定,避免转子在装入定子过程中由于磁性影响而产生的上下窜动,保证转子轴承压入定子后合装到位;定子由菱形销定位,在定子放置位置加入浮动转台,保证定转子合装后转子与定子周向的精确定位。

今年以来巨一科技新获得专利授权45个,较去年同期减少了45.12%。结合公司2024年年报财务数据,2024年公司在研发方面投入了2.2亿元,同比减28.9%。

通过天眼查大数据分析,安徽巨一科技股份有限公司共对外投资了10家企业,参与招投标项目559次;财产线索方面有商标信息151条,专利信息1093条,著作权信息74条;此外企业还拥有行政许可12个。

数据来源:天眼查APP

以上内容为证券之星据公开信息整理,由AI算法生成(网信算备310104345710301240019号),不构成投资建议。

这里是分享代码,在后台添加

本文来源:资讯纵横网

本文地址:https://mgisk.com/post/31811.html

关注我们:微信搜索“xiaoqihvlove”添加我为好友

版权声明:如无特别注明,转载请注明本文地址!

搜索