山东章鼓获得外观设计专利授权:“罗茨鼓风机用撬装箱式隔声罩”
2025年08月08日 | 浏览量:50310

图片来源于网络,如有侵权,请联系删除
证券之星消息,根据天眼查APP数据显示山东章鼓(002598)新获得一项外观设计专利授权,专利名为“罗茨鼓风机用撬装箱式隔声罩”,专利申请号为CN202430810035.6,授权日为2025年8月8日。
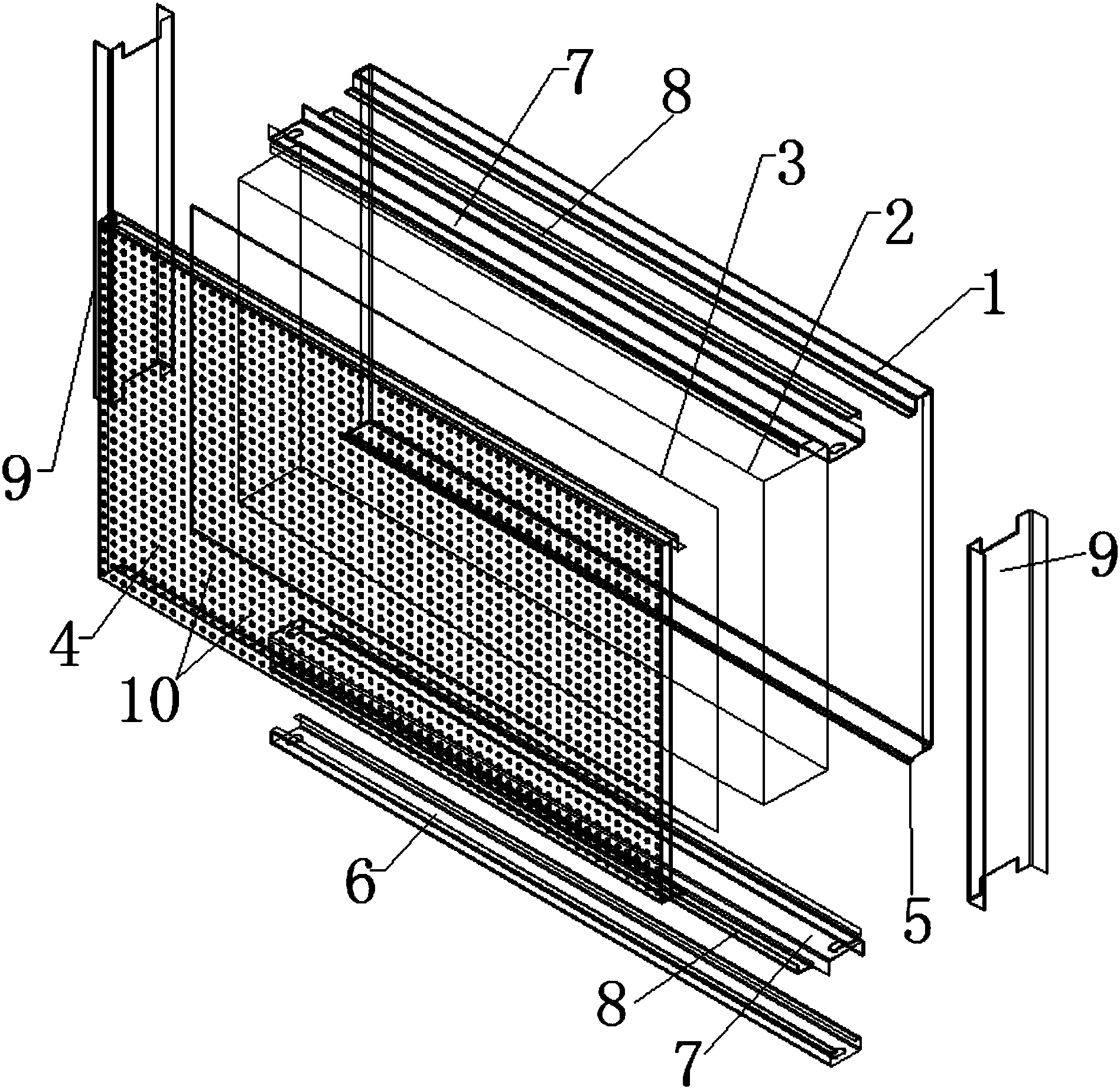
专利摘要:1.本外观设计产品的名称:罗茨鼓风机用撬装箱式隔声罩。2.本外观设计产品的用途:用于罗茨鼓风机机组的整体撬装。3.本外观设计产品的设计要点:在于形状。4.最能表明设计要点的图片或照片:立体图1。
今年以来山东章鼓新获得专利授权48个,较去年同期增加了11.63%。结合公司2024年年报财务数据,2024年公司在研发方面投入了1.06亿元,同比增5.05%。
通过天眼查大数据分析,山东省章丘鼓风机股份有限公司共对外投资了42家企业,参与招投标项目2424次;财产线索方面有商标信息20条,专利信息570条,著作权信息29条;此外企业还拥有行政许可24个。
数据来源:天眼查APP
以上内容为证券之星据公开信息整理,由AI算法生成(网信算备310104345710301240019号),不构成投资建议。
这里是分享代码,在后台添加
本文来源:资讯纵横网
本文地址:https://mgisk.com/post/33115.html
关注我们:微信搜索“xiaoqihvlove”添加我为好友
版权声明:如无特别注明,转载请注明本文地址!
相关文章

