创业环保获得实用新型专利授权:“一种污泥脱水机进料管路”
2025年08月12日 | 浏览量:72489

图片来源于网络,如有侵权,请联系删除
证券之星消息,根据天眼查APP数据显示创业环保(600874)新获得一项实用新型专利授权,专利名为“一种污泥脱水机进料管路”,专利申请号为CN202422337099.6,授权日为2025年8月12日。
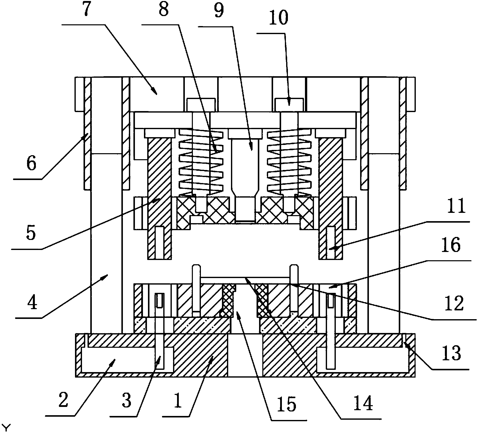
专利摘要:本实用新型公开了一种污泥脱水机进料管路,包括进料管,所述进料管上设置有弯管组件,所述进料管上左侧设置有第一三通组件,所述进料管上右侧设置有第二三通组件,所述进料管的右端设置有快速转接头;所述弯管组件包括管道座,所述管道座的左前侧转动安装有限位固定座,所述限位固定座的后端上侧均匀开设有限位孔,本实用新型通过弯管组件能够实现对进料管进行折弯角度定位,从而使进料管在进行折弯拐点的折弯流畅度高,能够有效的避免管道拐点堵塞的问题出现,使进料管的使用效果更好,通过弯管组件中管道座与限位固定座之间可定位旋转,并且采用定位插销能够使管道座与限位固定座之间的调节定位便捷性和稳定性高。

图片来源于网络,如有侵权,请联系删除
今年以来创业环保新获得专利授权7个,较去年同期减少了30%。结合公司2024年年报财务数据,2024年公司在研发方面投入了6528.97万元,同比增23.04%。
通过天眼查大数据分析,天津创业环保集团股份有限公司共对外投资了56家企业,参与招投标项目3026次;财产线索方面有商标信息1条,专利信息114条,著作权信息17条;此外企业还拥有行政许可88个。
数据来源:天眼查APP
以上内容为证券之星据公开信息整理,由AI算法生成(网信算备310104345710301240019号),不构成投资建议。
本文来源:资讯纵横网
本文地址:https://mgisk.com/post/33400.html
关注我们:微信搜索“xiaoqihvlove”添加我为好友
版权声明:如无特别注明,转载请注明本文地址!

