格力电器获得实用新型专利授权:“一种涡旋压缩机及压缩机安装总成”
2025年08月15日 | 浏览量:66145

图片来源于网络,如有侵权,请联系删除
证券之星消息,根据天眼查APP数据显示格力电器(000651)新获得一项实用新型专利授权,专利名为“一种涡旋压缩机及压缩机安装总成”,专利申请号为CN202422731056.6,授权日为2025年8月15日。
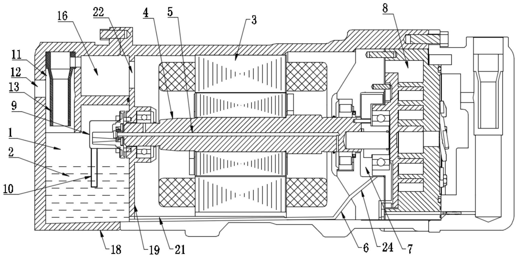
专利摘要:本实用新型提供了一种涡旋压缩机及压缩机安装总成,涉及压缩机技术领域,解决了现有技术中存在的压缩机在承受较大的冲击载荷时,压缩机可靠性差的技术问题。该涡旋压缩机及压缩机安装总成包括壳体,壳体内设置有下支架和上支架,上支架上设置有挡油环;曲轴,转动设置在上支架和下支架上,曲轴上设置有限位环,限位环的外径大于挡油环的内径;和动涡旋盘,设置在曲轴的第二端上,且动涡旋盘与曲轴第二端端部的距离大于所述限位环与挡油环的距离。本实用新型用于提供一种提高压缩机结构可靠性的涡旋压缩机及压缩机安装总成。

图片来源于网络,如有侵权,请联系删除
今年以来格力电器新获得专利授权4369个,较去年同期减少了2.91%。结合公司2024年年报财务数据,2024年公司在研发方面投入了69.04亿元,同比增2.1%。
通过天眼查大数据分析,珠海格力电器股份有限公司共对外投资了101家企业,参与招投标项目28652次;财产线索方面有商标信息8150条,专利信息115847条,著作权信息297条;此外企业还拥有行政许可830个。
数据来源:天眼查APP
以上内容为证券之星据公开信息整理,由AI算法生成(网信算备310104345710301240019号),不构成投资建议。
本文来源:资讯纵横网
本文地址:https://mgisk.com/post/33630.html
关注我们:微信搜索“xiaoqihvlove”添加我为好友
版权声明:如无特别注明,转载请注明本文地址!

