联明股份获得实用新型专利授权:“一种用于汽车配件的存放装置”
2025年08月19日 | 浏览量:58950

图片来源于网络,如有侵权,请联系删除
证券之星消息,根据天眼查APP数据显示联明股份(603006)新获得一项实用新型专利授权,专利名为“一种用于汽车配件的存放装置”,专利申请号为CN202422199966.4,授权日为2025年8月19日。
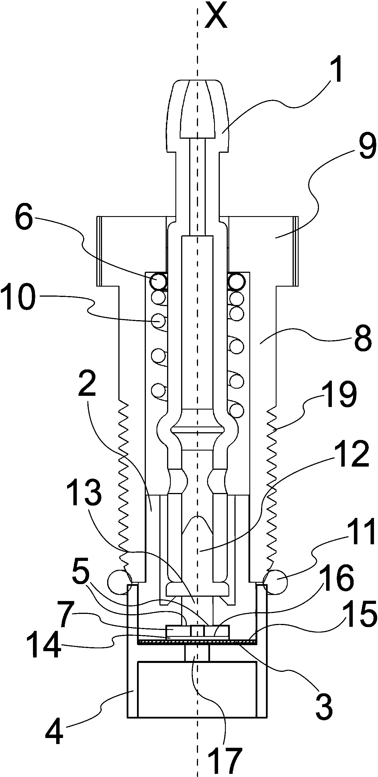
专利摘要:本实用新型涉及汽车配件存放技术领域,尤其为一种用于汽车配件的存放装置,包括柜体,所述柜体的底部拐角处均设置有减震弹簧,所述减震弹簧的底部设置有锁紧万向轮,所述气管的底部且位于抽屉的上方均匀设置有多个喷气嘴,所述柜体的正面且位于抽屉的下方对称设置有柜门,所述柜体的内部且位于抽屉的下方设置有存放抽屉,所述存放隔板的正面相对应设置有卡扣,所述存放抽屉的正面相对应卡扣的位置处均匀设置有多个止逆卡块,本实用新型与现有技术相比,使容易氧化的汽车零件能被很好的保护,防止配件氧化生锈,延长了配件的使用寿命,同时使汽车配件存放装置的空间得到了更加充分的利用,增加了实用性。

图片来源于网络,如有侵权,请联系删除
今年以来联明股份新获得专利授权6个,较去年同期减少了33.33%。结合公司2024年年报财务数据,2024年公司在研发方面投入了3143.15万元,同比减24.61%。
通过天眼查大数据分析,上海联明机械股份有限公司共对外投资了8家企业;财产线索方面有商标信息4条,专利信息52条,著作权信息1条;此外企业还拥有行政许可39个。
数据来源:天眼查APP
以上内容为证券之星据公开信息整理,由AI算法生成(网信算备310104345710301240019号),不构成投资建议。
本文来源:资讯纵横网
本文地址:https://mgisk.com/post/33911.html
关注我们:微信搜索“xiaoqihvlove”添加我为好友
版权声明:如无特别注明,转载请注明本文地址!

