歌尔股份获得发明专利授权:“一种组装机构”
2025年08月23日 | 浏览量:61683

图片来源于网络,如有侵权,请联系删除
证券之星消息,根据天眼查APP数据显示歌尔股份(002241)新获得一项发明专利授权,专利名为“一种组装机构”,专利申请号为CN202310186713.0,授权日为2025年8月22日。
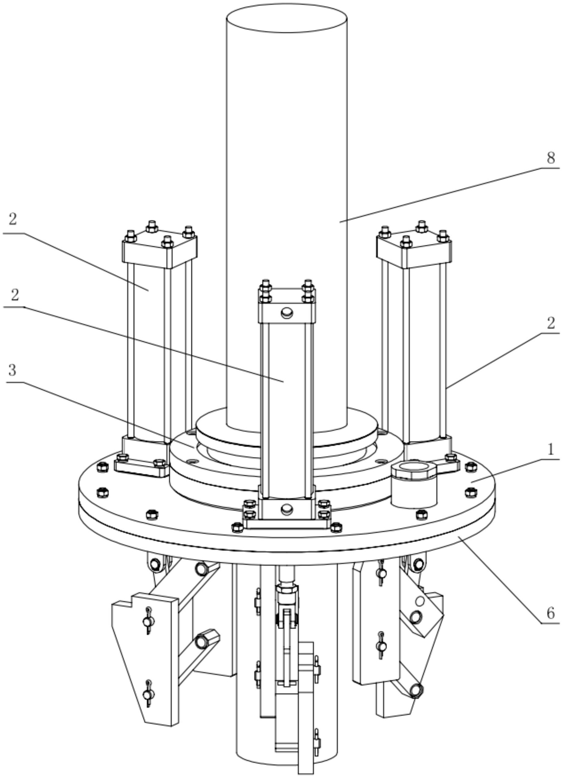
专利摘要:本发明公开一种组装机构,所述组装机构包括基座、夹持工装以及安装结构,所述基座上形成有加工平台;所述夹持工装包括固定部,所述固定部设置在所述加工平台上,其上设置有安装工位,所述安装工位用以供产品和电池固定安装;所述安装结构包括安装部,所述安装部相对所述固定部具有沿纵向延伸轴线的转动行程、以及沿横向和上下方向的位移行程,用以将电池安装至产品的内腔内。本发明旨在提供一种可将自身长度大于耳机壳壳体的电池安装至壳体内的组装机构。
今年以来歌尔股份新获得专利授权335个,较去年同期减少了21.91%。结合公司2025年中报财务数据,今年上半年公司在研发方面投入了23.54亿元,同比增15.81%。
通过天眼查大数据分析,歌尔股份有限公司共对外投资了43家企业,参与招投标项目240次;财产线索方面有商标信息171条,专利信息9876条,著作权信息45条;此外企业还拥有行政许可618个。
数据来源:天眼查APP
以上内容为证券之星据公开信息整理,由AI算法生成(网信算备310104345710301240019号),不构成投资建议。
本文来源:资讯纵横网
本文地址:https://mgisk.com/post/34197.html
关注我们:微信搜索“xiaoqihvlove”添加我为好友
版权声明:如无特别注明,转载请注明本文地址!

