四方光电获得实用新型专利授权:“壁挂炉燃烧控制组件”
2025年10月10日 | 浏览量:61202

图片来源于网络,如有侵权,请联系删除
证券之星消息,根据天眼查APP数据显示四方光电(688665)新获得一项实用新型专利授权,专利名为“壁挂炉燃烧控制组件”,专利申请号为CN202422615958.3,授权日为2025年10月10日。
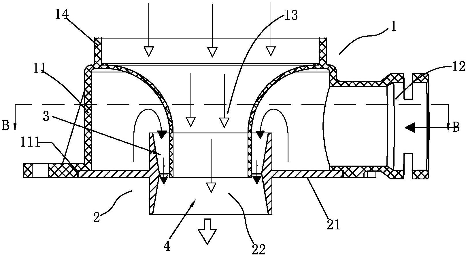
专利摘要:本实用新型公开一种壁挂炉燃烧控制组件,涉及壁挂炉燃烧控制技术领域,包括燃烧室、混合器、燃气阀门及燃气热值仪,混合器具有第一输入端、第二输入端及输出端,第一输入端连接助燃气管道,第二输入端连接燃气管道,输出端与燃烧室连接;燃气阀门设于燃气管道;燃气热值仪与第二输入端连接或与输出端连接,实时获取燃气和助燃气混合前的燃气热值成分、或燃气和助燃气混合后形成的混合气的热值成分;如此,通过设置燃气热值仪实时测量得到热值成分,再以此实现空燃比快速准确自适应调节,实时调整/确定燃气流量/燃气体积,和/或助燃气流量/助燃气体积,可良好适应燃气成分差异对热效率的影响,确保壁挂炉实时处于最佳燃烧状况。

图片来源于网络,如有侵权,请联系删除
今年以来四方光电新获得专利授权19个,较去年同期减少了17.39%。结合公司2025年中报财务数据,今年上半年公司在研发方面投入了5813.69万元,同比增22.58%。
通过天眼查大数据分析,四方光电股份有限公司共对外投资了9家企业,参与招投标项目64次;财产线索方面有商标信息45条,专利信息214条,著作权信息22条;此外企业还拥有行政许可35个。
数据来源:天眼查APP
以上内容为证券之星据公开信息整理,由AI算法生成(网信算备310104345710301240019号),不构成投资建议。
本文来源:资讯纵横网
本文地址:https://mgisk.com/post/36987.html
关注我们:微信搜索“xiaoqihvlove”添加我为好友
版权声明:如无特别注明,转载请注明本文地址!

