顶固集创获得实用新型专利授权:“快拆式家具门体悬挂式滑动折叠装置”
2026年02月06日 | 浏览量:62423

图片来源于网络,如有侵权,请联系删除
证券之星消息,根据天眼查APP数据显示顶固集创(300749)新获得一项实用新型专利授权,专利名为“快拆式家具门体悬挂式滑动折叠装置”,专利申请号为CN202422995157.4,授权日为2026年2月6日。
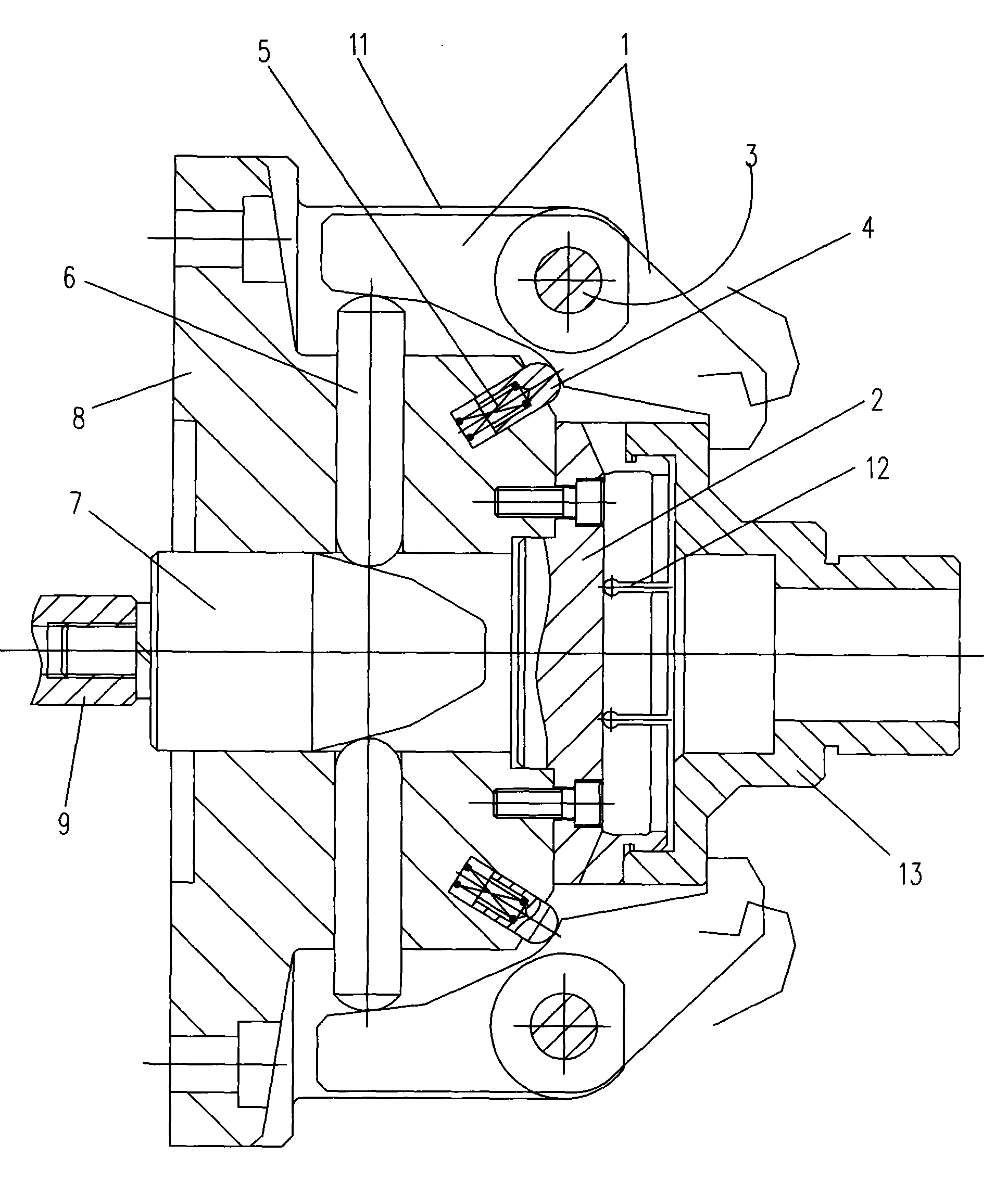
专利摘要:本实用新型公开了快拆式家具门体悬挂式滑动折叠装置,包括传动机体,传动机体的底端设有限位板,限位板内部的一侧设有贯穿限位板的限位槽,传动机体一侧的内壁上安装有旋转驱动件,旋转驱动件的一端设有丝杆,丝杆一侧的外壁上螺纹安装有螺母副,螺母副底端的中心位置处设有承载杆,限位板的下方设有第一门体,所述第一门体的一侧铰接有第二门体,所述承载杆的底端与第二门体顶端连接,第一门体顶端与所述限位板(14)底端连接。本实用新型不仅提高了滑动折叠装置使用时的便捷性,还达到了易于对第一门体与第二门体进行维护的目的,而且保障了折叠装置使用时对第一门体与第二门体的开闭合效果。

图片来源于网络,如有侵权,请联系删除
今年以来顶固集创新获得专利授权1个,较去年同期减少了85.71%。结合公司2025年中报财务数据,2025上半年公司在研发方面投入了1557.94万元,同比减20.16%。
通过天眼查大数据分析,广东顶固集创家居股份有限公司共对外投资了24家企业,参与招投标项目182次;财产线索方面有商标信息692条,专利信息1597条,著作权信息66条;此外企业还拥有行政许可51个。
数据来源:天眼查APP
以上内容为证券之星据公开信息整理,由AI算法生成(网信算备310104345710301240019号),不构成投资建议。
本文来源:资讯纵横网
本文地址:https://mgisk.com/post/44438.html
关注我们:微信搜索“xiaoqihvlove”添加我为好友
版权声明:如无特别注明,转载请注明本文地址!

