美的集团获得实用新型专利授权:“一种冰箱铰链”
2025年09月09日 | 浏览量:50012

图片来源于网络,如有侵权,请联系删除
证券之星消息,根据天眼查APP数据显示美的集团(000333)新获得一项实用新型专利授权,专利名为“一种冰箱铰链”,专利申请号为CN202422091217.X,授权日为2025年9月9日。
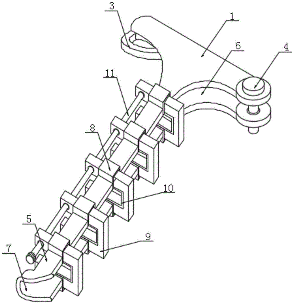
专利摘要:本实用新型涉及铰链技术领域,提供一种冰箱铰链,包括与冰箱门板连接的第一连接件、与冰箱柜体连接的第二连接件、以及与箱门外饰板连接的第三连接件,第一连接件、第二连接件、第三连接件之间设有传动机构,箱门外饰板与冰箱门板呈层叠式设置,第一连接件通过传动机构驱动冰箱门板开闭在冰箱柜体上,且第三连接件通过传动机构驱动箱门外饰板在冰箱门板开闭过程中滑动在冰箱门板上。第一连接件上设有与箱门外饰板配合连接的换向传动总成,开合冰箱门板时箱门外饰板滑动在门板上,这样箱门外饰板在冰箱门板打开时不会与冰箱柜体发生干涉现象,冰箱门板与冰箱柜体之间的配合缝隙可以不用设置过大,此外还可以降低箱门外饰板的加工精度要求。

图片来源于网络,如有侵权,请联系删除
今年以来美的集团新获得专利授权2022个,较去年同期减少了9%。结合公司2025年中报财务数据,今年上半年公司在研发方面投入了87.67亿元,同比增14.41%。
通过天眼查大数据分析,美的集团股份有限公司共对外投资了131家企业,参与招投标项目4561次;财产线索方面有商标信息9756条,专利信息66216条,著作权信息126条;此外企业还拥有行政许可84个。
数据来源:天眼查APP
以上内容为证券之星据公开信息整理,由AI算法生成(网信算备310104345710301240019号),不构成投资建议。
本文来源:资讯纵横网
本文地址:https://mgisk.com/post/35452.html
关注我们:微信搜索“xiaoqihvlove”添加我为好友
版权声明:如无特别注明,转载请注明本文地址!

