利元亨获得实用新型专利授权:“一种合盖装置”
2025年11月15日 | 浏览量:70526

图片来源于网络,如有侵权,请联系删除
证券之星消息,根据天眼查APP数据显示利元亨(688499)新获得一项实用新型专利授权,专利名为“一种合盖装置”,专利申请号为CN202422834238.6,授权日为2025年10月31日。
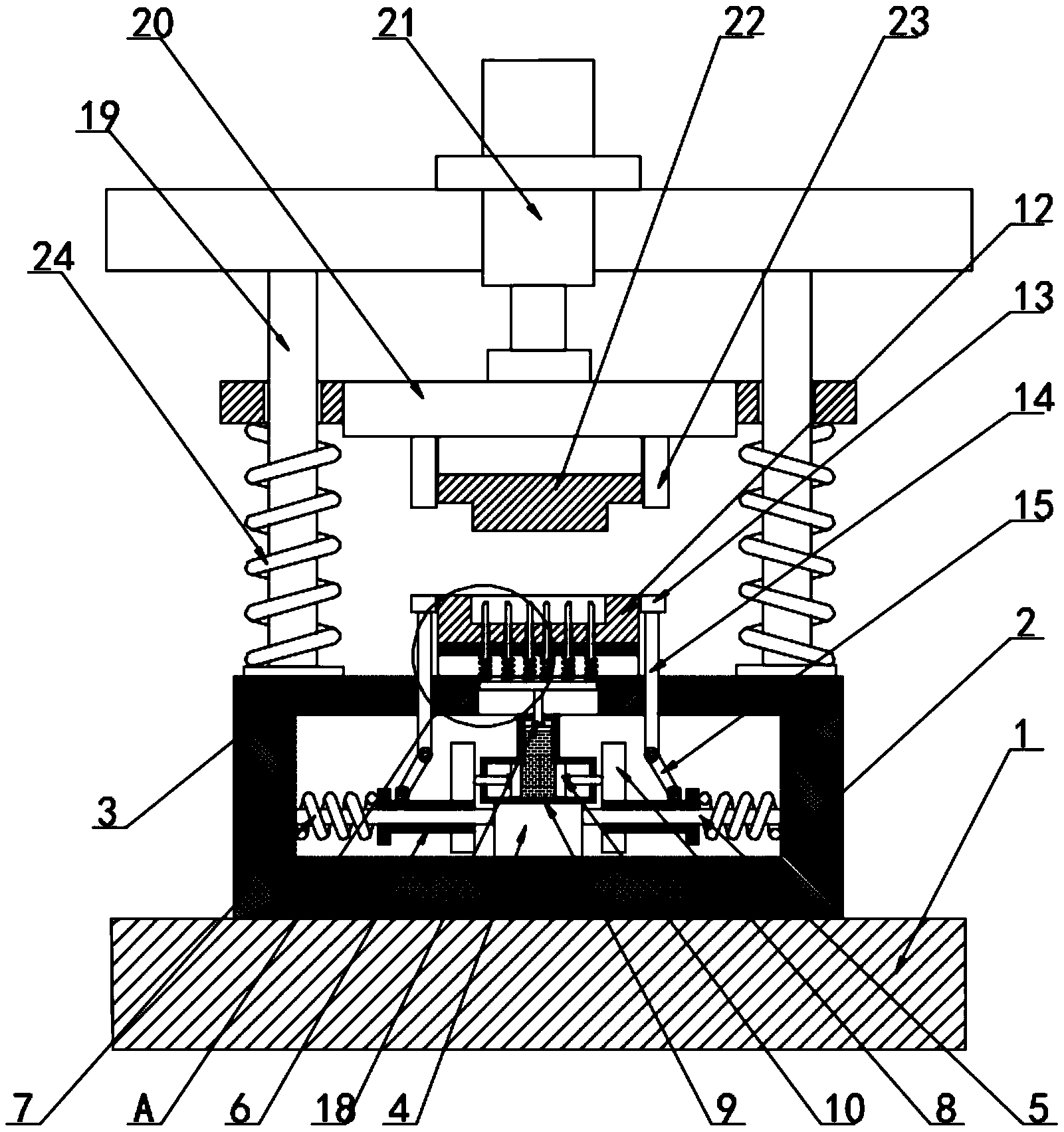
专利摘要:本申请公开了一种合盖装置,涉及电池加工技术领域,包括装置载体、合盖机构、承载机构以及位移机构;承载机构安装于装置载体上,设有用于在竖直方向承载待合盖工件的承载工位;合盖机构安装于装置载体上,且设有在竖直方向活动的合盖驱动部;位移机构安装于装置载体上,且与合盖机构和/或承载机构连接,用于带动合盖机构和/或承载机构移动,以使得合盖驱动部位于承载工位正上方。待合盖工件相对于承载机构是静止的,且受承载机构在竖直方向全支撑,不会有因重力而产生向下偏移的问题,有效保证合盖精度。

图片来源于网络,如有侵权,请联系删除
今年以来利元亨新获得专利授权204个,较去年同期增加了4.08%。结合公司2025年中报财务数据,今年上半年公司在研发方面投入了1.56亿元,同比减21.83%。
通过天眼查大数据分析,广东利元亨智能装备股份有限公司共对外投资了18家企业,参与招投标项目252次;财产线索方面有商标信息361条,专利信息3022条,著作权信息373条;此外企业还拥有行政许可265个。
数据来源:天眼查APP
以上内容为证券之星据公开信息整理,由AI算法生成(网信算备310104345710301240019号),不构成投资建议。
本文来源:资讯纵横网
本文地址:https://mgisk.com/post/39465.html
关注我们:微信搜索“xiaoqihvlove”添加我为好友
版权声明:如无特别注明,转载请注明本文地址!
- •中国石化获得发明专利授权:“催化反应单元及反应蒸馏塔”
- •【ESG动态】赫美集团(002356.SZ)获华证指数ESG最新评级CC,行业排名第96
- •华鑫股份(600621)2025年三季报简析:营收净利润同比双双增长
- •海南发展:截至9月20日股东总户数74,632户
- •三达膜:公司的膜产品有应用在稀土开采领域
- •精智达获得发明专利授权:“一种屏幕亮度校正提取的方法、装置及存储介质”
- •格力电器获得实用新型专利授权:“地坪加热系统”
- •长城汽车获得实用新型专利授权:“制件包边机构”
- •兴福电子获得发明专利授权:“一系列杂环芳烃光引发剂及其光引发剂应用”
- •海康威视获得发明专利授权:“一种全景图像的生成方法、装置及自动驾驶设备”

